Stehende Umlenkrolle 40 mm verzinkt
SKU | 8000.962.040K

SKU | 8000.962.040K
Nylonrad in verzinkter Stahlrolle.
Mit zwei vorgebohrten und versenkten Schraubenlöchern
Geeignet für Seile mit einem Durchmesser von bis zu 7 mm.
5,42 €exkl. MwSt.
6,56 €inkl. MwSt.
Auf Lager
An Werktagen bestellt, innerhalb eines Werktags versandt
Kostenloser Versand nach DE ab 99 € exkl. MwSt.
Seit 2005 beste Qualität zu einem fairen Preis
Information
Stehende Rolle 40 mm verzinkt
Mit dieser stehenden Rolle kannst du verschiedene Hebekonstruktionen erstellen. Denk zum Beispiel an eine Dachluke, Sonnenschutz oder vielleicht eine Möglichkeit, dein Fahrrad im Schuppen aufzuhängen. Die Rolle besteht aus einem Nylonrad in einem verzinkten Stahlgehäuse mit offener Bauweise. Durch die zwei vorgebohrten und versenkten Schraublöcher kannst du die Rolle einfach an einer Platte oder einem Balken befestigen. Der maximale Durchmesser des Seils in dieser Rolle beträgt 7 mm.
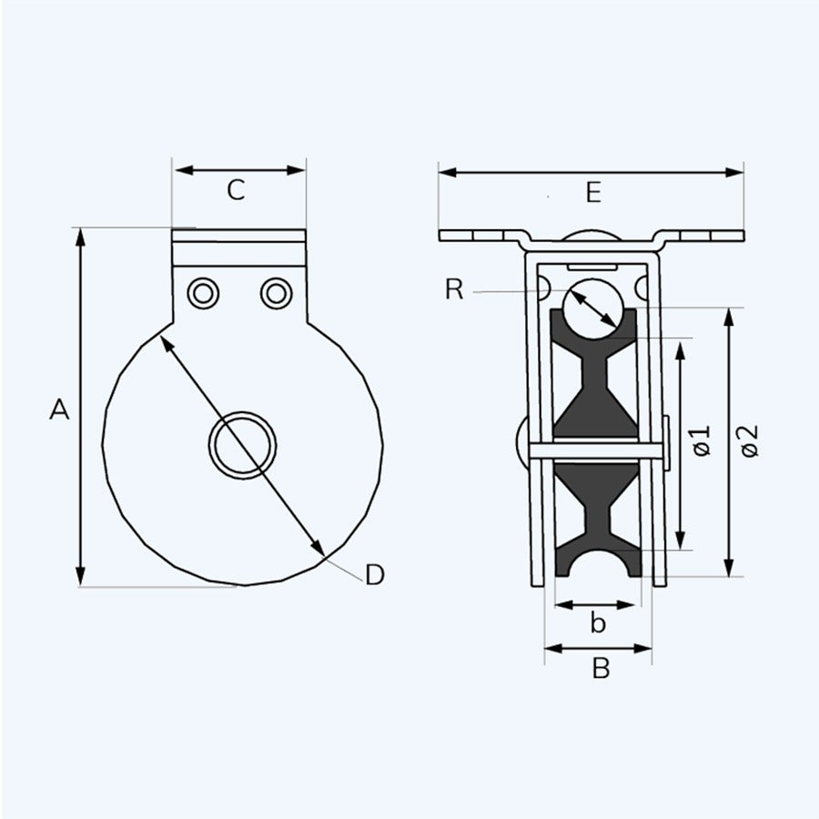
Siehe schematische Zeichnung:
- A: 62 mm
- D: 41 mm
- ø1: 28 mm
- ø2: 40 mm
- R: 6,5 mm
- B: 12,5 mm
- b: 10,5 mm
- C: 25 mm
- E: 55 mm
Spezifikationen
- Merkmal 1Nylonrad in verzinkter Stahlrolle.
- Merkmal 2Mit zwei vorgebohrten und versenkten Schraubenlöchern
- Merkmal 3Geeignet für Seile mit einem Durchmesser von bis zu 7 mm.
- Manufacturer EAN138714140218738


